| TR規格表一覧へ | 次へ |
| 型名 | 社名 Mnf. |
用途 App. |
構造 Type |
最大定格 Max. Ratings (Ta=25゚C) | 電気的特性 Elec. Character. (Ta=25゚C) | 外形 Pac. Dim. No. |
備考 | ||||||||
| VCBO | VEBO | Ic | Pc | Tj | 直流又はパルスhFE | fab/ft* | Cob | ||||||||
| (V) | (V) | (mA) | (mW) | (゚C) | VCE(V) | Ic(mA) | (MHz) | (pF) | |||||||
| 2SD11 | 日電 | SW | Ge.A | 25 | 15 | 300 | 150 | 85 | 70 | 1 | 20 | 2.5 | 84A | ||
| 2SD12 | 松下 | PA | Si.Me | 75 | 4 | 2.5A | 60W(Tc=25゚C) | 150 | 50 | 4 | 1A | 103 | |||
| 2SD13 | " | " | " | 35 | 4 | 10A | 100W(Tc=25゚C) | 150 | 40 | 10 | 2.5A | 109 | |||
| 2SD14 | " | " | " | 75 | 4 | 10A | 100W(Tc=25゚C) | 150 | 30 | 4 | 10A | 109 | |||
| 2SD15 | サンケン | PA.SW | Si.DJ | 60 | 6 | 6A | 80W(Tc=25゚C) | 150 | 50 | 4 | 1.5A | 2 | 102 | ||
| 2SD16 | " | " | " | 100 | 6 | 6A | 80W(Tc=25゚C) | 150 | 50 | 4 | 1.5A | 2 | 102 | ||
| 2SD17 | " | " | " | 150 | 6 | 6A | 80W(Tc=25゚C) | 150 | 50 | 4 | 1.5A | 2 | 102 | ||
| 2SD18 | " | PA | " | 200 | 6 | 6A | 80W(Tc=25゚C) | 150 | 50 | 4 | 1.5A | 2 | 102 | ||
| 2SD19 | 日電 | " | Ge.A | 25 | 10 | 300 | 150 | 85 | 31 | 1 | 20 | >1 | 84A | 2SB219とコンプリ | |
| 2SD20 | " | " | " | 25 | 10 | 300 | 150 | 85 | 50 | 1 | 20 | >1 | 84A | 2SB220とコンプリ | |
| 2SD21 | " | " | " | 25 | 10 | 300 | 150 | 85 | 72 | 1 | 20 | >1 | 84A | 2SB221とコンプリ | |
| 2SD22 | " | " | " | 25 | 10 | 300 | 150 | 85 | 97 | 1 | 20 | >1 | 84A | 2SB222とコンプリ | |
| 2SD23 | " | " | " | 25 | 10 | 300 | 150 | 85 | 150 | 1 | 20 | >1 | 84A | 2SB223とコンプリ | |
| 2SD24 | 三洋 | " | Si.Me | 300 | 2 | 100 | 6W(Tc=70゚C) | 110 | 60 | 10 | 50 | 25* | 17 | 99 | |
| 2SD25 | 日電 | " | Ge.A | 25 | 10 | 100 | 110 | 75 | 70 | 1 | 50 | 1 | 12A | ||
| 2SD26 | 三菱 | PA.SW | Si.EP | 40 | 5 | 7A | 50W(Tc=25゚C) | 175 | 10 | 4 | 5A | 103 | |||
| 2SD26A | " | " | " | 60 | 5 | 7A | 50W(Tc=25゚C) | 175 | 10 | 4 | 5A | 103 | |||
| 2SD26B | " | " | " | 100 | 5 | 7A | 50W(Tc=25゚C) | 175 | 10 | 4 | 5A | 103 | |||
| 2SD26C | " | " | " | 150 | 5 | 7A | 50W(Tc=25゚C) | 175 | 10 | 4 | 5A | 103 | |||
| 2SD27 | 松下 | PA | Ge.A | 32 | 10 | 500 | 280 | 90 | 95 | 0.5 | 300 | 12A | |||
| 2SD28 | ソニー | " | Si.DJ | 70 | 3A | 18W(Tc=25゚C) | 150 | 100 | 1 | 100 | 100 | ||||
| 2SD29 | " | " | " | 70 | 3A | 18W(Tc=25゚C) | 150 | 100 | 1 | 100 | 100 | ||||
| 2SD30 | 三洋 | " | Ge.A | 25 | 12 | 200 | 300 | 85 | 100 | 1.5 | 100 | 1 | 63 | 2SB22とコンプリ (外形が12のものもある; 鴇田さんからの情報) |
|
| 2SD31 | 松下 | " | " | 25 | 10 | 125 | 125 | 75 | 50 | 1 | 100 | 12B | 2SB172とコンプリ | ||
| 2SD32 | " | " | " | 25 | 10 | 125 | 125 | 75 | 90 | 1 | 100 | 12B | 2SB176とコンプリ | ||
| 2SD33 | 富士通 | " | " | 20 | 2.5 | 50 | 150 | 85 | 70 | 1 | 50 | 2 | 12A | 2SB33とコンプリ | |
| 2SD34 | " | " | " | 20 | 2.5 | 150 | 250 | 85 | 100 | 1 | 150 | 2 | 71A | 2SB34とコンプリ | |
| 2SD35 | 松下 | " | " | 20 | 10 | 60 | 83 | 75 | 72 | 1 | 18 | 4 | |||
| 2SD36 | " | " | " | 20 | 10 | 60 | 83 | 75 | 150 | 1 | 37.5 | 4 | |||
| 2SD37 | 富士通 | " | " | 30 | 12 | 50 | 150 | 85 | 7 | 1 | 50 | 2 | 12A | 2SB37とコンプリ | |
| 2SD38 | 富士通 | PA | Ge.A | 30 | 12 | 150 | 250 | 85 | 75 | 1 | 150 | 2 | 71A | 2SB38とコンプリ | |
| 2SD41 | 東芝 | PA | Si.DJ | 80 | 10 | 10A | 200W(Tc=25゚C) | 150 | 60 | 5 | 1A | 102 | |||
| 2SD43 | 東芝 | PA | Ge.A | 25 | 12 | 50 | 110 | 75 | 70 | 1 | 50 | 12A | |||
| 2SD43A | " | " | " | 45 | 12 | 150 | 110 | 75 | 70 | 1 | 50 | 12A | |||
| 2SD44 | " | AF | " | 25 | 12 | 50 | 80 | 75 | >0.5 | 25 | 12A | ||||
| 2SD45 | ソニー | PA | Si.Me | 150 | 6 | 5A | 50W(Tc=25゚C) | 150 | 40 | 10 | 1A | 102 | |||
| 2SD46 | " | " | " | 150 | 6 | 5A | 50W(Tc=25゚C) | 150 | 40 | 10 | 1A | 102 | |||
| 2SD47 | " | " | " | 100 | 6 | 5A | 50W(Tc=25゚C) | 150 | 40 | 10 | 1A | 102 | |||
| 2SD48 | 富士通 | " | Si.DJ | 100 | 10 | 3A | 20W(Tc=25゚C) | 175 | 50 | 4 | 750 | 1.5 | 83 | ||
| 2SD49 | ソニー | " | " | 100 | 10 | 3A | 18W(Tc=25゚C) | 150 | 50 | 3 | 1A | 2 | 100 | ||
| 2SD50 | 富士通.日立 | " | " | 100 | 10 | 6A | 50W(Tc=25゚C) | 175 | 30 | 4 | 1.5A | 1.5 | 102 | ||
| 2SD51 | ソニー | " | Si.Me | 100 | 6 | 5A | 50W(Tc=25゚C) | 150 | 60 | 3 | 2A | 10 | 102 | ||
| 2SD51A | ソニー | PA | Si.Me | 150 | 6 | 5A | 50W(Tc=25゚C) | 150 | 60 | 3 | 2A | 10* | 102 | ||
| 2SD52 | サンケン | PA.SW | Si.DJ | 100 | 10 | 6A | 80W(Tc=25゚C) | 175 | 20 | 4 | 3A | 2 | 102 | ||
| 2SD53 | 富士通 | " | " | 90 | 12 | 10A | 100W(Tc=25゚C) | 175 | 25 | 4 | 5A | 1.2 | 102 | ||
| 2SD54 | " | " | " | 100 | 12 | 10A | 150W(Tc=25゚C) | 175 | 25 | 4 | 5A | 1.2 | 109 | ||
| 2SD55 | 東芝 | PA | " | 100 | 10 | 20A | 200W(Tc=25゚C) | 150 | 24 | 5 | 10A | 1 | 102 | ||
| 2SD56 | ソニー | " | " | 220 | 18 | 3A | 30W(Tc=25゚C) | 150 | 50 | 1 | 100 | 100 | |||
| 2SD57 | 三菱 | PA.SW | " | 30 | 10 | 3A | 20W(Tc=25゚C) | 150 | 70 | 4 | 1A | 100 | |||
| 2SD58 | " | " | " | 60 | 10 | 3A | 20W(Tc=25゚C) | 150 | 70 | 4 | 1A | 100 | |||
| 2SD59 | " | " | " | 100 | 5 | 6A | 50W(Tc=25゚C) | 150 | 60 | 4 | 1A | 102 | |||
| 2SD60 | " | " | " | 150 | 5 | 6A | 50W(Tc=25゚C) | 150 | 60 | 4 | 1A | 102 | |||
| 2SD61 | ソニー | AF.PA.LN | Ge.A | 30 | 10 | 100 | 120 | 75 | 50 | 1 | 10 | 1 | 35 | 58 | |
| 2SD62 | " | SW | " | 30 | 10 | 100 | 120 | 75 | 50 | 1 | 10 | 1 | 35 | 58 | |
| 2SD63 | " | PA | " | 25 | 100 | 120 | 75 | 50 | 1 | 10 | 1 | 35 | 58 | ||
| 2SD64 | " | AF | " | 25 | 100 | 120 | 75 | 100 | 1 | 10 | 1 | 35 | 58 | ||
| 2SD65 | " | " | " | 25 | 100 | 120 | 75 | 50 | 1 | 10 | 1 | 35 | 58 | ||
| 2SD66 | " | " | " | 25 | 100 | 120 | 75 | 25 | 1 | 10 | 0.8 | 35 | 58 | ||
| 2SD67 | 三洋 | PA | Si.TMe | 120 | 5 | 5A | 50W(Tc=25゚C) | 150 | 80 | 5 | 1A | 100* | 102 | ||
| 2SD68 | " | " | " | 75 | 5 | 5A | 50W(Tc=25゚C) | 150 | 80 | 5 | 1A | 100* | 102 | ||
| 2SD69 | ソニー | " | " | 140 | 3A | 50W(Tc=25゚C) | 150 | 150 | 3 | 100 | 102 | ||||
| 2SD70 | 日電 | PA | Si | 40 | 5 | 2A | 15W(Tc=25゚C) | 175 | 80 | 2 | 1A | 150 | |||
| 2SD71 | " | " | " | 100 | 5 | 2A | 15W(Tc=25゚C) | 175 | 80 | 2 | 0.5A | 150 | |||
| 2SD72 | 三洋 | " | Ge.A | 25 | 600 | 720(Tc=25゚C) | 85 | 150 | 1.5 | 200 | 12A | 2SB405とコンプリ | |||
| 2SD73 | 日電 | " | Si.EMe | 100 | 5 | 5A | 60W(Tc=25゚C) | 175 | 70 | 10 | 1A | 20* | 102 | 2SB506とコンプリ | |
| 2SD74 | " | " | " | 150 | 5 | 5A | 60W(Tc=25゚C) | 175 | 70 | 10 | 1A | 20* | 102 | 2SB506とコンプリ | |
| 2SD75 | 日立 | AF | Ge.A | 25 | 12 | 100 | 150 | 85 | 4 | 12A | 2SB75とコンプリ | ||||
| 2SD75A | " | PA | " | 45 | 12 | 100 | 150 | 85 | 4 | 12A | |||||
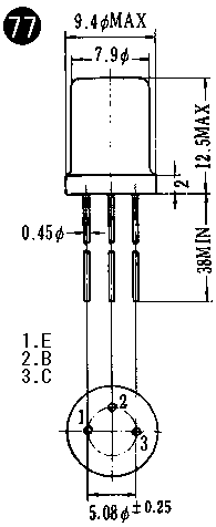
| 2SD77 | 日立 | PA | Ge.A | 25 | 12 | 100 | 150 | 85 | 85 | 1.5 | 50 | 3.5 | 12A | 2SB77とコンプリ | |
| 2SD77A | " | " | " | 45 | 12 | 100 | 150 | 85 | 85 | 1.5 | 50 | 3.5 | 12A | ||
| 2SD78 | 日電 | PA.SW | Si.E | 100 | 12 | 2A | 1W | 175 | 80 | 2 | 500 | 50* | 84B | 2SB504とコンプリ | |
| 2SD78A | 日電 | PA.SW | Si.EPa | 100 | 12 | 2A | 1W(Tc=25゚C) | 175 | 80 | 2 | 500 | 84B | 2SB504Aとコンプリ | ||
| 2SD79 | " | " | Si.E | 100 | 12 | 2A | 15W(Tc=25゚C) | 175 | 80 | 2 | 500 | 50* | 97B | 2SB505とコンプリ | |
| 2SD80 | サンケン | PA.SW | Si.DJ | 30 | 6 | 6A | 50W(Tc=25゚C) | 150 | 60 | 4 | 1A | 3 | 102 | ||
| 2SD81 | " | " | " | 60 | 6 | 6A | 50W(Tc=25゚C) | 150 | 60 | 4 | 1A | 3 | 102 | ||
| 2SD82 | " | " | " | 100 | 6 | 6A | 50W(Tc=25゚C) | 150 | 60 | 4 | 1A | 3 | 102 | ||
| 2SD83 | " | " | " | 150 | 6 | 6A | 50W(Tc=25゚C) | 150 | 60 | 4 | 1A | 3 | 102 | ||
| 2SD84 | " | " | " | 200 | 6 | 6A | 50W(Tc=25゚C) | 150 | 60 | 4 | 1A | 3 | 102 | ||
| 2SD88 | ソニー | PA | Si.TMe | 100 | 8 | 5A | 80W(Tc=25゚C) | 150 | 80 | 3 | 2A | 102 | |||
| 2SD88A | ソニー | PA | Si.TMe | 100 | 8 | 10A | 120W(Tc=25゚C) | 150 | 150 | 3 | 2A | 102 | |||
| 2SD90 | サンケン | PA.SW | Si.DJ | 30 | 6 | 3A | 20W(Tc=25゚C) | 150 | 40 | 4 | 1A | 3.5 | 100 | ||
| 2SD91 | " | " | " | 60 | 6 | 3A | 20W(Tc=25゚C) | 150 | 40 | 4 | 1A | 3.5 | 100 | ||
| 2SD92 | " | " | " | 100 | 6 | 3A | 20W(Tc=25゚C) | 150 | 40 | 4 | 1A | 3.5 | 100 | ||
| 2SD93 | " | " | " | 150 | 6 | 3A | 20W(Tc=25゚C) | 150 | 40 | 4 | 1A | 3.5 | 100 | ||
| 2SD94 | " | " | " | 200 | 6 | i3A | 20W(Tc=25゚C) | 150 | 40 | 4 | 1A | 3.5 | 100 | ||
| 2SD96 | 日立 | PA | Ge.A | 25 | 2.5 | 250 | 300(Tc<55゚C) | 85 | 90 | 1.5 | 50 | 4 | 12A | 2SB496とコンプリ | |
| 2SD100 | 東芝 | PA | Ge.A | 32 | 12 | 400 | 250 | 85 | 75 | 1 | 150 | 77 | |||
| 2SD100A | " | " | " | 45 | 12 | 400 | 250 | 85 | 75 | 1 | 150 | 77 | |||
| TR規格表一覧へ | 次へ |